Muzique logo AMZ Guitar Effects Blog

Patents on Parade #2

This patent is an example of how the patent office cannot search all relevant publications on a topic before granting a patent and how a simple idea can be independently invented by more than one person. It is likely that the patent author never saw the forum discussions nor the publication that is referenced below, and the idea is so basic that duplication is probable not just possible.

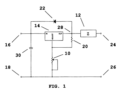
US Patent Number 6,081,100 is a circuit that simulates the behavior of a battery using a DC power supply. It is a very simple idea and one that has been discussed in various effects forums on numerous occasions for many years. Basically the output of the power supply regulator has a resistor inserted in series with it to increase the impedance of the power output.

The problem is that not only has this idea been discussed previously in open forums but also published in "The Stompbox Cookbook" by Nicholas Boscorelli, copyrighted in 1998, as shown below:

The Boscorelli design is even a better circuit at simulating the battery because it has an optional adjustment with R4 on the output of the regulator that dampens the filtering effect of the capacitor C2. It is likely that the commercially available power supplies that have this feature to imitate a dying battery, such as the Voodoo Lab Pedal Power, use a very similar circuit design. Do they license US#6081100? I don't know...

The patent office can easily overlook a publication on a specialized product niche such as this application because they do not have access to unlimited time and resources. Duplications and imitations will happen through no ill intent of the patent applicant.

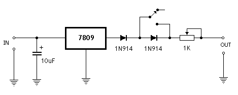
Let's look at an alternate battery simulation circuit that can attempt to duplicate the sag caused when a nearly depleted battery is used. In the circuit shown below that I have devised, a fixed voltage regulator 7809 is used to hold the voltage to a constant value. Two silicon diodes are inserted in series with the output; one may be switched out of the path if desired.

The diodes will have an internal voltage drop that increases with the current draw from the effect circuit, i.e. the sag effect. the variable resistor may be set to add some fixed output impedance to the voltage source. Does this violate the patent? I cannot guarantee it since I am not a lawyer but claim 1(c) says the regulator of the patent device is variable, and in this circuit it is not. Also the diodes in the output have a dynamic impedance that does a better job of simulating a dying battery. Should I file a patent on this? I have a year from now (10 Jan 2004) to do so...

UPDATE: While looking at some old information on the AMZ-CD, I discovered that I had published a similar version to the above battery sim circuit back in March 2000, which was before patent #6081100 issued! If you have a copy of my CD, look in the Lab Notebook at an article entitled "Wall-wart Hum Eliminator".


AMZ-FX Home Page       Lab Notebook Main Page       Guitar Effects Blog

©2004 Jack Orman
All Rights Reserved

Privacy Policy